无障碍阅读
长者版
首页
政务公开
办事服务
互动交流
数据中心
首页
>
办事服务
>
机动车环保检验机构查询
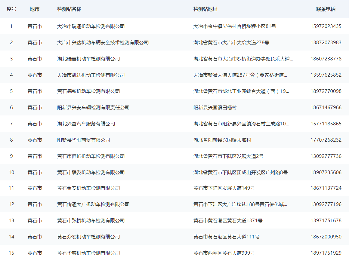
黄石市机动车环保检验机构查询(截至2025年7月)
来源:湖北省生态环境厅 时间:2025-07-18 16:58
返回首页
官方微博
官方微信
官方APP
监督投诉
举报咨询
回到顶部